FREE REPAIR MANUALS & LABOR GUIDES 1982-2013 Vehicles
Courtesy of Operation CHARM: Car repair manuals for everyone.

Steering Lock Replacement (A/T)




Steering Lock Replacement

1. Remove the steering column. Steering Column Removal and Installation

2. Center-punch both of the two shear bolts, and drill the heads of the bolts off with a 5 mm (3/16 in.) drill bit. Be careful not to damage the switch body when removing the shear bolts.

3. Remove the shear bolts from the switch body.

4. Install the switch body without the key inserted.

5. Loosely tighten the new shear bolts.

6. Insert the ignition key, and check for proper operation of the steering wheel lock and that the ignition key turns freely.






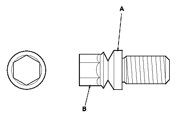
7. Tighten the shear bolts (A) until the hex heads (B) twist off.

8. Install the steering column. Steering Column Removal and Installation

9. Rewrite the immobilizer control unit-receiver, Programming and Relearning and make sure the immobilizer system works properly.