FREE REPAIR MANUALS & LABOR GUIDES 1982-2013 Vehicles
Courtesy of Operation CHARM: Car repair manuals for everyone.

How to Disable Electrical System

Turning Off and On Power to the High Voltage Circuit

The following procedure should be performed prior to working on or near any high voltage components. Follow the procedure exactly. Otherwise, you may be injured or may damage equipment.

1. Turn the ignition switch OFF.
2. Remove the rear seat-back .




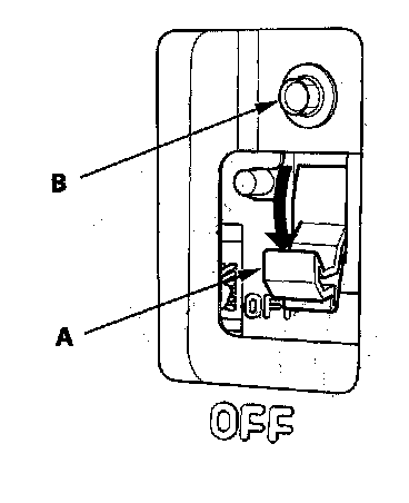
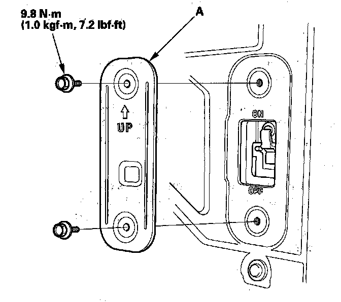
3. Remove the battery module switch lid (A) from the battery module.




4. Turn the battery module switch (A) OFF, then check that the bolt (B) is showing.

5. Wait at least 5 minutes to allow the PDU capacitors to discharge.
6. Remove the IPU lid.




7. Measure voltage at the battery module terminals (A). There should be 30 V or less. If more than 30 V is present, there is a problem in the circuit; do the DTC troubleshooting first.


8. After service or repairs are completed:
- Make sure all the high voltage circuits are connected properly.
- Install the IPU lid.






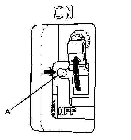
9. Push the button (A), and turn the battery module switch ON.

10. Reinstall all remaining removed parts.