FREE REPAIR MANUALS & LABOR GUIDES 1982-2013 Vehicles
Courtesy of Operation CHARM: Car repair manuals for everyone.

Main Relay (Computer/Fuel System): Testing and Inspection

Power Relay Test




Use this chart to identify the type of relay, then do the test listed for it.

NOTE: For the turn signal/hazard relay input test, refer to Lighting and Horns.

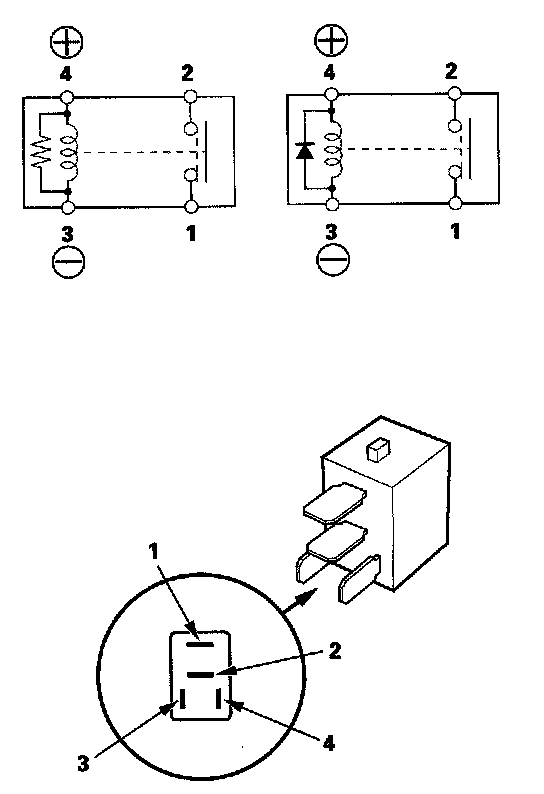
Normally-open type




Check for continuity between the terminals.

- There should be continuity between the No.1 and No.2 terminals when battery positive terminal is connected to the No.4 terminal, and battery negative terminal is connected to the No.3 terminal.
- There should be no continuity between the No.1 and No.2 terminals when power is disconnected.