FREE REPAIR MANUALS & LABOR GUIDES 1982-2013 Vehicles
Courtesy of Operation CHARM: Car repair manuals for everyone.

Part 1




Engine















Upper End Components and Front End Accessory Drive (FEAD) Components











Lower End Components and Coolant Pump











Oil Filter Adapter Assembly









Timing Drive Components and Cylinder Heads











Flywheel and Exhaust Manifolds









NOTICE: During engine repair procedures, cleanliness is extremely important. Any foreign material, including any material created while cleaning gasket surfaces, that enters the oil passages, coolant passages or the oil pan, can cause engine failure.

NOTE: During engine assembly it may become necessary to check bearing clearances and end play. For additional information, refer to Engine System - General Information Service and Repair.

1. Record the first character code information on the cylinder block.





2. Note the first character on the No. 7 crankshaft counterweight.





3. Using the data recorded in the previous 2 steps, cross-reference using the chart to obtain bearing grade.





4. NOTE: Before assembling the cylinder block, all sealing surfaces must be free of chips, dirt, paint and foreign material. Also, make sure the coolant and oil passages are clear.

Lubricate the upper crankshaft main bearings with clean engine oil and install into the cylinder block.

5. NOTE: Do not install the upper thrust bearings until the crankshaft is installed.

NOTE: Lubricate the thrust surfaces of the crankshaft with clean engine oil.

Install the crankshaft onto the upper main bearings.

6. NOTE: Make sure the side of the thrust washer, with three 5-mm wide oil grooves, faces the crankshaft thrust surface.

Push the crankshaft rearward and install the rear crankshaft upper thrust washer at the back of the No. 5 main boss.





7. NOTE: Make sure the side of the thrust washer, with three 5-mm wide oil grooves, faces the crankshaft thrust surface.

Push the crankshaft forward and install the front crankshaft upper thrust washer at the front of the No. 5 main boss.





8. NOTE: Make sure the side of the thrust washer, with three 5-mm wide oil grooves, faces the crankshaft thrust surface

NOTE: To aid in assembly, apply petroleum jelly to the back of the crankshaft thrust washer.

Install the lower crankshaft thrust washer to the back side of the No. 5 main bearing cap, with the tab aligned with the cutout in the main bearing cap.





9. Lubricate the crankshaft lower main bearings with clean engine oil and install them into the main bearing caps. Locate the main bearing caps on the cylinder block and, keeping the caps as square as possible, alternately draw the caps down evenly using the new cap fasteners.

10. Push the crankshaft forward to seat the crankshaft thrust washer. Hold the crankshaft in the forward position.





11. Install 30 new crankshaft main bearing cap fasteners hand tight.





12. Tighten the 10 new outside vertical main bearing cap fasteners in the sequence shown, in 3 stages.
- Stage 1: Tighten to 10 Nm (89 lb-in).

- Stage 2: Tighten to 40 Nm (30 lb-ft).

- Stage 3: Tighten an additional 90 degrees.





13. Tighten the 10 new inside vertical main bearing cap fasteners in the sequence shown, in 3 stages.
- Stage 1: Tighten to 10 Nm (89 lb-in).

- Stage 2: Tighten to 40 Nm (30 lb-ft).

- Stage 3: Tighten an additional 90 degrees.





14. Tighten the 10 new side bolts in the sequence shown, in 2 stages.
- Stage 1: Tighten to 40 Nm (30 lb-ft).

- Stage 2: Tighten an additional 90 degrees.





15. Check that crankshaft torque-to-turn does not exceed 6 Nm (53 lb-in).

16. Check the crankshaft end play. For additional information, refer to Engine System - General Information Service and Repair.

17. NOTE: Verify correct orientation of connecting rod and rod cap.

Prepare the connecting rod and cap.

- Insert the bolts in the rod cap.

- Insert the upper and lower rod bearings into the rod and cap.





18. NOTE: Do not scratch the cylinder walls or crankshaft journals with the connecting rod.

NOTE: The next 3 steps are for all 8 connecting rods, rod caps and pistons. Only 1 connecting rod, rod cap and piston is shown.

NOTE: Make sure the identification marks on the piston and connecting rod face toward the front of the engine.

Using the Piston Ring Compressor and the Connecting Rod Installer, install the No. 1 and No. 6 piston and the connecting rod assemblies.

- Lubricate the piston and rings with clean engine oil.

- Lubricate the rod bearings with clean engine oil.

- Lubricate the cylinder bores with clean engine oil.





19. Seat the connecting rods on the crankshaft journals and remove the Connecting Rod Installer.





20. NOTICE: The rod cap installation must keep the same orientation as marked during disassembly or damage to the engine may occur.

NOTE: Rotate the crankshaft after each connecting rod is installed and tightened, to check for assembly binding.

Install the rod bearing caps and tighten the bolts in 2 stages.

- Stage 1: Tighten to 40 Nm (30 lb-ft).

- Stage 2: Tighten an additional 90 degrees.





21. Install the piston assemblies 3 and 5, 4 and 7, 2 and 8, by turning the crankshaft 90 degrees and repeating the previous steps.

22. Install the oil pump and 3 bolts.
- Tighten the bolts in the sequence shown to 10 Nm (89 lb-in).





23. NOTICE: The gasket sealing surfaces on the cylinder head and the cylinder block must be clean. Failure to follow these instructions may result in engine damage. For additional information, refer to Cylinder Head in the Removal information. Cylinder Head - Removal

NOTICE: The use of sealing aids (aviation cement, copper spray and glue) is not permitted. The gasket must be installed dry. Failure to follow these instructions may result in engine damage.

NOTICE: The new gasket has a film coating which is crucial to the ability of the gasket to seal correctly. Do not scratch the gasket.

NOTE: RH head gasket shown, LH head gasket similar.

Install the RH and LH head gasket over the dowel pins.





24. NOTICE: Cylinder head machining or milling is not authorized by the Ford Motor Company. Cylinder head flatness must be within 0.0254 mm (0.001 in) across a 38.1 mm (1.5 in) square area. Failure to follow these instructions may result in engine damage.

NOTICE: The gasket sealing surfaces on the cylinder head and the cylinder block must be clean. Do not use metal scrapers, wire brushes, power abrasive discs or other abrasive means to clean the sealing surfaces. These tools cause scratches and gouges which make leak paths. Use a plastic scraping tool to remove all traces of old sealant.

NOTICE: The use of sealing aids (aviation cement, copper spray and glue) is not permitted. The gasket must be installed dry. Failure to follow these instructions may result in engine damage.

NOTICE: Do not allow the dowels to scratch the sealing surface of the cylinder head during cylinder head installation. Failure to follow these instructions may result in engine damage.

NOTE: LH shown, RH similar.

Install the RH and LH cylinder heads on the dowels and the head gaskets.

- Loosely install new bolts.





25. Tighten the new RH cylinder head bolts in 5 stages in the sequence shown.
- Stage 1: Tighten to 20 Nm (177 lb-in).

- Stage 2: Tighten to 50 Nm (37 lb-ft).

- Stage 3: Tighten to 80 Nm (59 lb-ft).

- Stage 4: Tighten an additional 90 degrees.

- Stage 5: Tighten an additional 90 degrees.





26. Tighten the new LH cylinder head bolts in 5 stages in the sequence shown.
- Stage 1: Tighten to 20 Nm (177 lb-in).

- Stage 2: Tighten to 50 Nm (37 lb-ft).

- Stage 3: Tighten to 80 Nm (59 lb-ft).

- Stage 4: Tighten an additional 90 degrees.

- Stage 5: Tighten an additional 90 degrees.





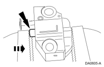
27. NOTICE: Do not compress the ratchet assembly. This will damage the ratchet assembly.

NOTE: LH shown, RH similar.

Compress each tensioner plunger, using an edge of a vise.





28. Using a small screwdriver or pick, push back and hold the ratchet mechanism.





29. While holding the ratchet mechanism, push the ratchet arm back into the tensioner housing.





30. Install a suitable pin into the hole of each tensioner housing to hold the ratchet assembly and plunger in place during installation.
- Remove the tensioner from the vise.





31. If the colored links are not visible, mark one link on one end and 2 links on the other end, and use as timing marks.





32. Using the Crankshaft Holding Tool, position the crankshaft.





33. Install the crankshaft sprocket with the flange facing forward.





34. Position the camshaft sprocket timing marks as shown.





35. Install the LH primary timing chain guide and the 2 bolts.
- Tighten to 10 Nm (89 lb-in).





36. Position the LH (inner) timing chain onto the crankshaft sprocket, aligning the one colored link on the timing chain with the slot on the crankshaft sprocket.





37. Install the LH timing chain on the camshaft sprocket, aligning the 2 colored links with the timing mark on the sprocket.