FREE REPAIR MANUALS & LABOR GUIDES 1982-2013 Vehicles
Courtesy of Operation CHARM: Car repair manuals for everyone.

Timing Drive Components

Timing Drive Components

Special Tool(s):




Material:





Removal
1. Remove the engine front cover.





2. Remove the crankshaft sensor ring from the crankshaft.





3. Position the crankshaft keyway at the 12 o'clock position.

4. NOTE: If the camshaft lobes are not exactly positioned as shown, the crankshaft will require one full additional rotation to 12 o'clock.





The No. 1 cylinder must be coming up on the exhaust stroke with the crankshaft keyway at the 12 o'clock position. Verify by noting the position of the 2 intake lobes and the exhaust lobe on the No. 1 cylinder.

5. CAUTION: If the components are to be reinstalled, they must be installed in the same positions. Mark the components for installation into their original locations.





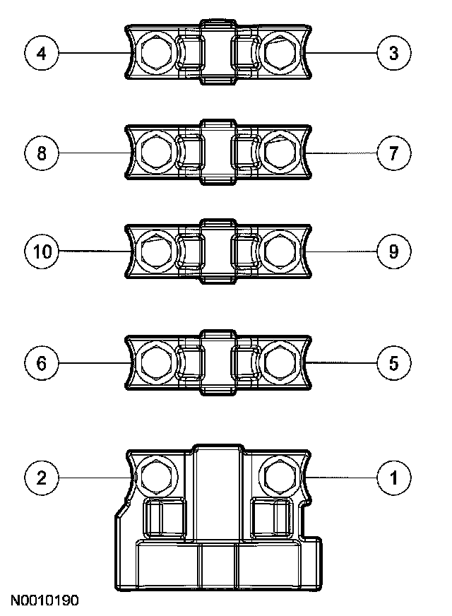
Remove only the 3 roller followers shown in the illustration from the RH cylinder head.

6. CAUTION: Do not allow the valve keepers to fall off the valve or the valve may drop into the cylinder.

NOTE: It may be necessary to push the valve down while compressing the spring.





Using the special tool, remove the 3 roller followers designated in the previous step from the RH cylinder head.

7. CAUTION: If the components are to be reinstalled, they must be installed in the same positions. Mark the components for installation into their original locations.





Remove only the 3 roller followers shown in the illustration from the LH cylinder head.

8. CAUTION: Do not allow the valve keepers to fall off the valve or the valve may drop into the cylinder.

NOTE: It may be necessary to push the valve down while compressing the spring.





Using the special tool, remove the 3 roller followers designated in the previous step from the LH cylinder head.

9. CAUTION: The crankshaft cannot be moved past the 6 o'clock position once set.





Rotate the crankshaft clockwise and position the crankshaft keyway at the 6 o'clock position.





10. Remove the bolts, the LH timing chain tensioner and tensioner arm.





11. Remove the bolts, the RH timing chain tensioner and tensioner arm.





12. Remove the RH and LH timing chains and the crankshaft sprocket.
^ Remove the RH timing chain from the camshaft sprocket.
^ Remove the RH timing chain from the crankshaft sprocket.
^ Remove the LH timing chain from the camshaft sprocket.
^ Remove the LH timing chain and crankshaft sprocket.

13. NOTE: RH shown, LH similar.





Remove the LH and RH timing chain guides.
^ Remove the bolts.
^ Remove both timing chain guides.

14. CAUTION: Damage to the camshaft phaser sprocket assembly will occur if mishandled or used as a lifting or leveraging device.

CAUTION: Only use hand tools to remove the camshaft phaser sprocket assembly or damage may occur to the camshaft or camshaft phaser unit.





Using the special tool, remove the bolt and the RH camshaft phaser sprocket assembly.
^ Discard the camshaft phaser sprocket bolt.

15. CAUTION: Damage to the camshaft phaser sprocket assembly will occur if mishandled or used as a lifting or leveraging device.

CAUTION: Only use hand tools to remove the camshaft phaser sprocket assembly or damage may occur to the camshaft or camshaft phaser unit.





Using the special tool, remove the bolt and the LH camshaft phaser sprocket assembly.
^ Discard the camshaft phaser sprocket bolt.

16. CAUTION: Remove the front thrust camshaft bearing cap straight upward from the bearing towers, or the bearing cap may be damaged from sideloading.

NOTE: The camshaft bearing caps must be installed in their original locations. Record camshaft bearing cap locations.





Remove the bolts in the sequence shown and remove the RH cylinder head front camshaft bearing cap and then the remaining bearing caps.





17. Clean and inspect the RH camshaft bearing caps.
^ The camshaft front thrust bearing cap contains an oil metering groove. Make sure the groove is free of foreign material.
18. Remove the RH camshaft.

19. CAUTION: Remove the front thrust camshaft bearing cap straight upward from the bearing towers, or the bearing cap may be damaged from sideloading.

NOTE: The camshaft bearing caps must be installed in their original locations. Record camshaft bearing cap locations.





Remove the bolts in the sequence shown and remove the LH cylinder head front camshaft bearing cap and then the remaining bearing caps.





20. Clean and inspect the LH camshaft bearing caps.
^ The camshaft front thrust bearing cap contains an oil metering groove. Make sure the groove is free of foreign material.
21. Remove the LH camshaft.

22. CAUTION: If the components are to be reinstalled, they must be installed in the same positions. Mark the components for installation into their original locations.

Remove all of the remaining roller followers from the cylinder heads.

Installation
1. Install the LH and RH camshafts.
^ Lubricate the camshaft and camshaft journals with clean engine oil prior to installation.

2. NOTE: LH shown, RH similar.





Install the LH and RH camshaft bearing caps in their original locations.
^ Lubricate the camshaft bearing caps with clean engine oil.
^ Position the front camshaft bearing cap.
^ Position the remaining camshaft bearing caps.
^ Install the bolts loosely.
^ Tighten to 10 Nm (89 inch lbs.) in the sequence shown.

3. CAUTION: Damage to the camshaft phaser sprocket assembly will occur if mishandled or used as a lifting or leveraging device.

NOTE: LH shown, RH similar.





Install the camshaft phaser sprockets and new camshaft phaser bolts finger tight.

4. CAUTION: Damage to the camshaft phaser sprocket assembly will occur if mishandled or used as a lifting or leveraging device.

CAUTION: Only use hand tools to remove the camshaft phaser sprocket assembly or damage may occur to the camshaft or camshaft phaser unit.

NOTE: LH shown, RH similar.





Using the special tool, tighten the LH and RH camshaft phaser sprocket bolts in 2 stages.
^ Stage 1: Tighten to 40 Nm (30 ft. lbs.).
^ Stage 2: Tighten an additional 90 degrees.





5. Install the crankshaft sprocket, making sure the flange faces forward.





6. Rotate the crankshaft to position the crankshaft sprocket timing mark in the 6 o'clock position.

7. CAUTION: If one or both tensioner mounting bolts are loosened or removed, the tensioner-sealing bead must be inspected for seal integrity. Any cracks, tears, cuts or separation from the tensioner body, or permanent compression of the seal bead, will require replacement of the tensioner.

Inspect the RH and LH timing chain tensioners.
^ Install new tensioners as necessary.

8. CAUTION: Timing chain procedures must be followed exactly or damage to valves and pistons will result.





Compress the tensioner plunger, using a vise.





9. Install a retaining clip on the tensioner to hold the plunger in during installation.
10. Remove the tensioner from the vise.





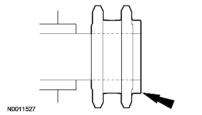
11. If the copper links are not visible, mark one link on one end and one link on the other end and use as timing marks.





12. Install the 4 bolts and the LH and RH timing chain guides.
^ Tighten to 10 Nm (89 inch lbs.).





13. Position the lower end of the LH (inner) timing chain on the crankshaft sprocket, aligning the timing mark on the outer flange of the crankshaft sprocket with the single copper (marked) link on the chain.

14. NOTE: Make sure the upper half of the timing chain is below the tensioner arm dowel.





Position the LH timing chain on the camshaft sprocket. Make sure the camshaft sprocket timing mark is aligned with the copper (marked) chain link.

15. NOTE: The LH timing chain tensioner arm has a bump near the dowel hole for identification.





Position the LH timing chain tensioner arm on the dowel pin and install the LH timing chain tensioner and bolts.
^ Tighten to 25 Nm (18 ft. lbs.).





16. Remove the retaining clip from the LH timing chain tensioner.





17. Position the lower end of the RH (outer) timing chain on the crankshaft sprocket, aligning the timing mark on the sprocket with the single copper (marked) chain link.

18. NOTE: The lower half of the timing chain must be positioned above the tensioner arm dowel.





Position the RH timing chain on the camshaft sprocket. Make sure the camshaft sprocket timing mark is aligned with the copper (marked) chain link.





19. Position the RH timing chain tensioner arm on the dowel pin and install the RH timing chain tensioner and bolts.
^ Tighten to 25 Nm (18 ft. lbs.).





20. Remove the retaining clip from the RH timing chain tensioner.

21. NOTE: The RH and LH camshaft phaser sprockets are similar. Refer to the single timing mark to identify the RH camshaft phaser sprocket and the L timing mark to identify the LH camshaft phaser sprocket.





As a post-check, verify correct alignment of all timing marks. Make sure the timing marks on the sprockets correspond to the above note.





22. Install the crankshaft sensor ring on the crankshaft.

23. NOTE: It is necessary to rotate the engine to position the camshaft lobes at base circle to install the roller followers.





Using the special tool, install all of the camshaft roller followers.
^ Lubricate the roller followers with clean engine oil prior to installation.
24. Install the engine front cover.