FREE REPAIR MANUALS & LABOR GUIDES 1982-2013 Vehicles
Courtesy of Operation CHARM: Car repair manuals for everyone.

Intake Manifold: Service and Repair

Intake Manifold

Material:














Removal
All engines
1. With vehicle in NEUTRAL, position it on a hoist. For additional information, refer to Maintenance/Service and Repair.
2. Remove the cooling fan motor and shroud assembly. For additional information, refer to Cooling System.





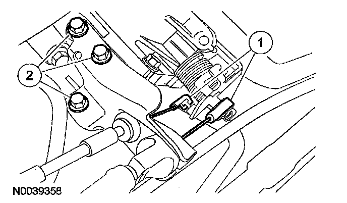
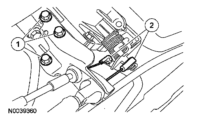
3. Remove the lower intake manifold bolt.





4. Remove the air cleaner outlet pipe.
^ Loosen the clamps.
^ Disconnect the vent tube and remove the outlet pipe.





5. Remove the accelerator snow shield.
^ Detach the evaporative emissions hose pin-type retainer.
^ Remove the screw and pin-type retainer.
^ Remove the snow shield.





6. Disconnect the accelerator cable and speed control cable (if equipped).
1. Disconnect the accelerator and speed control cable (if equipped) from the throttle body.
2. Remove the 3 bolts and position the accelerator control cables and bracket aside.
7. Disconnect the throttle position (TP) sensor electrical connector and wiring harness pin-type retainer.
8. Disconnect the idle air control (IAC) valve electrical connector and wiring harness pin-type retainer.
9. Disconnect the fuel vapor return hose.





10. Disconnect the power brake booster vacuum tube.
^ Depress the quick release locking ring.
^ Pull the vacuum tube out of the quick release fitting.





11. Disconnect the fuel rail pressure and temperature sensor vacuum hose.
12. Detach the wiring harness pin-type retainer.
13. Disconnect the intake manifold runner control (IMRC) actuator electrical connector.
14. Disconnect the manifold absolute pressure (MAP) sensor electrical connector.

2.0L engines





15. If equipped, disconnect the secondary air injection (AIR) vacuum supply hose.





16. Disconnect the swirl control valve electrical connector.





17. Remove the bolt and the oil level indicator tube.





18. NOTE: There are 3 different size bolts used. Mark the location of the bolts to make sure installation is in the correct location.

Remove the 7 intake manifold bolts.

2.3L engines





19. Disconnect the swirl valve electrical connectors and pin-type retainers.





20. Remove the 2 bolts and the oil level indicator tube.





21. NOTE: There are 3 different size bolts used. Mark the location of the bolts to make sure installation is in the correct location.

Remove the 7 intake manifold bolts.

All engines
22. Raise the intake manifold enough to gain clearance to disconnect the knock sensor (KS) electrical connector.
23. Disconnect the positive crankcase ventilation (PCV) hose and remove the intake manifold.
24. Remove the exhaust gas recirculation (EGR) tube.

Installation

All engines





1. NOTE: 2.0L engine shown, 2.3L is similar.

Inspect and install new intake manifold gaskets if necessary.





2. Install the EGR tube and tighten to 55 Nm (41 ft. lbs.).
3. Position the intake manifold and connect the PCV hose.
4. Connect the KS electrical connector.

2.3L engines





5. NOTE: Be sure to install the bolts in the previously marked locations.

NOTE: To ease installation of the intake manifold, lower center mounting bolt, use a 6 inch long, 5/16 inch diameter hose.

Install the intake manifold and the 7 mounting bolts.
^ Tighten to 18 Nm (13 ft. lbs.).





6. NOTE: Lubricate the O-ring with clean engine oil.

Install the oil level indicator tube and 2 bolts.
^ Tighten to 10 Nm (89 inch lbs.).





7. Connect the swirl valve electrical connectors and pin-type retainers.

2.0L engines





8. NOTE: Be sure to install the bolts in the previously marked locations.

Install the intake manifold and the 7 mounting bolts.

^ Tighten to 18 Nm (13 ft. lbs.).





9. NOTE: Lubricate the O-ring with clean engine oil.

Install the oil level indicator tube and bolt.
^ Tighten to 10 Nm (89 inch lbs.).





10. Connect the swirl control valve electrical connector.





11. If equipped, connect the AIR vacuum supply hose.

All engines





12. Install the lower intake manifold bolt.
^ Tighten to 18 Nm (13 ft. lbs.).
13. Connect the MAP sensor electrical connector.
14. Connect the IMRC actuator electrical connector.





15. Attach the wiring harness pin-type retainer.
16. Connect the fuel rail pressure and temperature sensor vacuum hose.





17. Connect the power brake booster vacuum tube.
^ Push the vacuum tube into the quick release fitting.
18. Connect the fuel vapor return hose.
19. Connect the IAC valve electrical connector and wiring harness pin-type retainer.
20. Connect the TP sensor electrical connector and wiring harness pin-type retainer.





21. Connect the accelerator cable and speed control cable (if equipped).
1. Install the accelerator cable bracket and 3 bolts.
^ Tighten to 10 Nm (89 inch lbs.).
2. Connect the accelerator and speed control cable (if equipped) to the throttle body.





22. Install the accelerator control snow shield.
^ Position the snow shield and tighten the retainer to 10 Nm (89 inch lbs.).
^ Attach the evaporative emissions hose pin-type retainer.





23. Install the air cleaner outlet pipe.
^ Tighten the clamps to 4 Nm (35 inch lbs.).
24. Install the cooling fan motor and shroud assembly. For additional information, refer to Cooling System.