FREE REPAIR MANUALS & LABOR GUIDES 1982-2013 Vehicles
Courtesy of Operation CHARM
:
Car repair manuals for everyone.
Home
>>
Ford
>>
2004
>>
Mustang V8-4.6L SOHC VIN X
>>
Repair and Diagnosis
>>
Specifications
>>
Mechanical Specifications
>>
Engine
>>
Intake Manifold
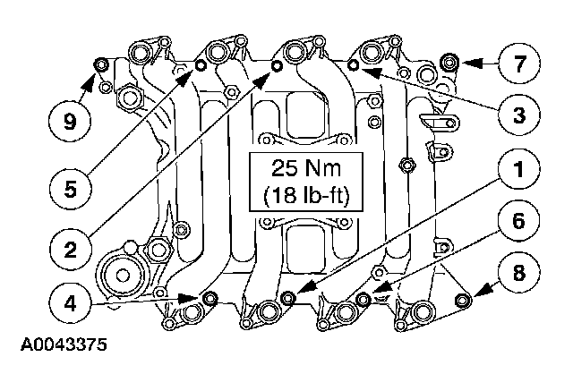
Intake Manifold
Intake Manifold
Bolts
25 Nm (18 ft.lbs.)
Throttle Body Bolts
10 Nm (89 in.lbs).