FREE REPAIR MANUALS & LABOR GUIDES 1982-2013 Vehicles
Courtesy of Operation CHARM
:
Car repair manuals for everyone.
Home
>>
Chevy Truck
>>
2007
>>
W 3500 Tiltmaster L4-5.2L DSL Turbo
>>
Repair and Diagnosis
>>
Specifications
>>
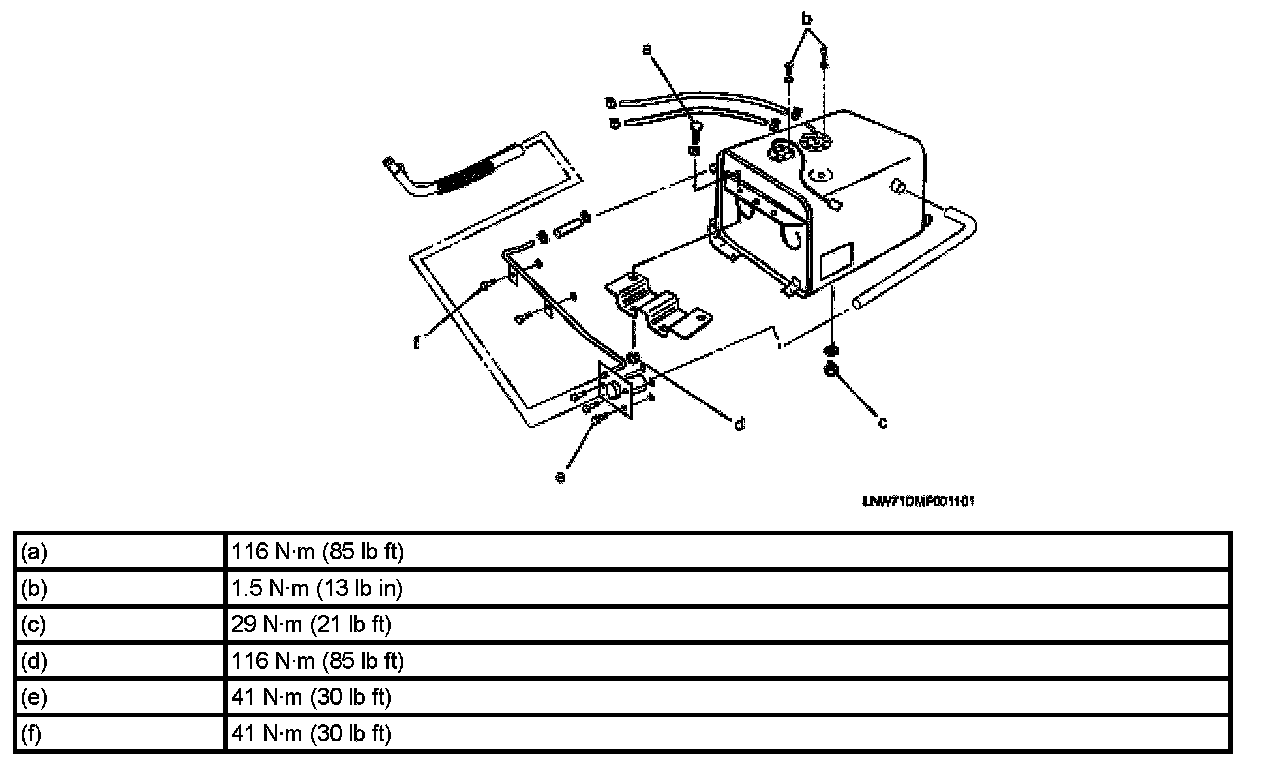
Fuel Tank
Fuel Tank
Torque Specifications
Side mounted type
Rear mounted type