FREE REPAIR MANUALS & LABOR GUIDES 1982-2013 Vehicles
Courtesy of Operation CHARM: Car repair manuals for everyone.

Assembly Procedure




1. Connect the brushes (2) to the regulator (1).
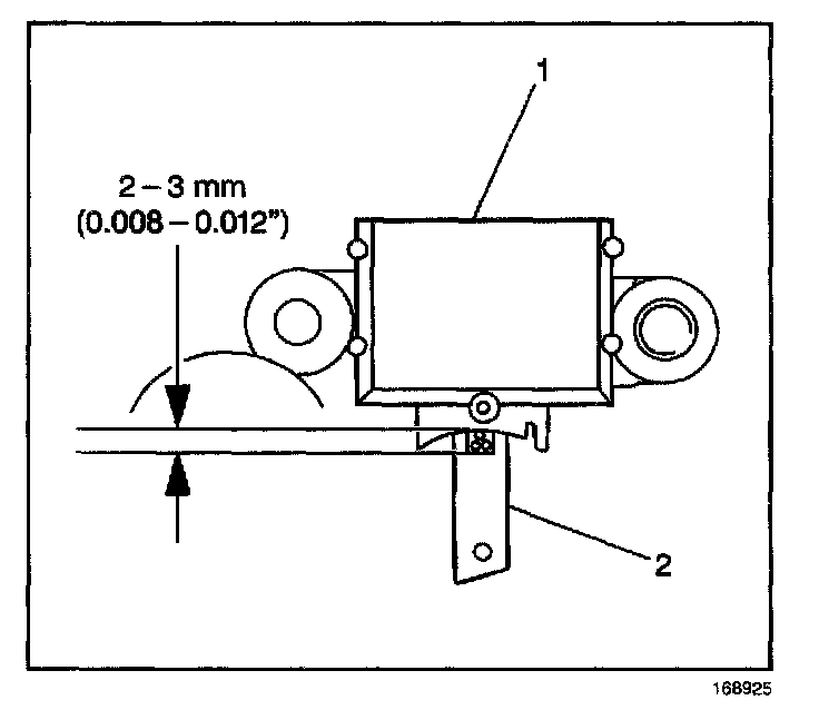
2. Install the brush springs and the brushes to the regulator so that the label on each brush is 2-3 mm (0.008-0.012 in) from the rectifier.




3. Solder the brush lead wires (2) to the regulator terminals.
4. Install the brush lead wire cover.
5. Connect the brush holder to the regulator.
6. Install the regulator and the brush holder to the rear housing.




7. Install the rectifier to the rear housing.
8. Install the stator to the rear housing. Secure the stator with the four retaining screws (2).




9. Solder the stator lead wires (1) to the regulator terminals.




10. Remove the hole plug from the rear housing.
11. Support the brushes with a wire inserted through the hole in the rear housing (2).

NOTE: Refer to Fastener Notice in Service Precautions.




12. Install the battery terminal retaining nut (2) to the rear housing.

Tighten
Tighten the battery terminal retaining nut to 10 N.m (89 lb in).

13. Install the rear bearing to the rotor.




14. Install the front bearing and the front bearing retainer to the front housing. Secure with 4 screws (1,3).




15. Install the rotor with the spacer to the front housing.

NOTE: To prevent damage to the rotor, place clean shop cloths between the rotor and the vise.

16. Place the front housing and the rotor into a vise, facing the drive pulley end up.
17. Install the drive pulley and the drive pulley washer to the rotor. Secure the pulley with the retaining nut.

Tighten
Tighten the drive pulley retaining nut to 118 N.m (86 lb ft).

18. Remove the front housing and the rotor from the vise.
19. Using a heat gun, heat the rear housing to 50-60°C (122-140°F)
20. Align the generator housing match marks. Install the front housing (4), with the drive pulley and rotor, to the stator coil (5) and rear housing (6).




21. Install the 4 front housing generator housing bolts (1,3).

Tighten
Tighten the generator housing bolts to 17 N.m (10 lb ft).

22. Remove the brush support wire and install the hole plug into the rear housing.
23. Make sure that the rotor rotates smoothly by turning the drive pulley.
24. Install the generator to the vehicle.