FREE REPAIR MANUALS & LABOR GUIDES 1982-2013 Vehicles
Courtesy of Operation CHARM: Car repair manuals for everyone.

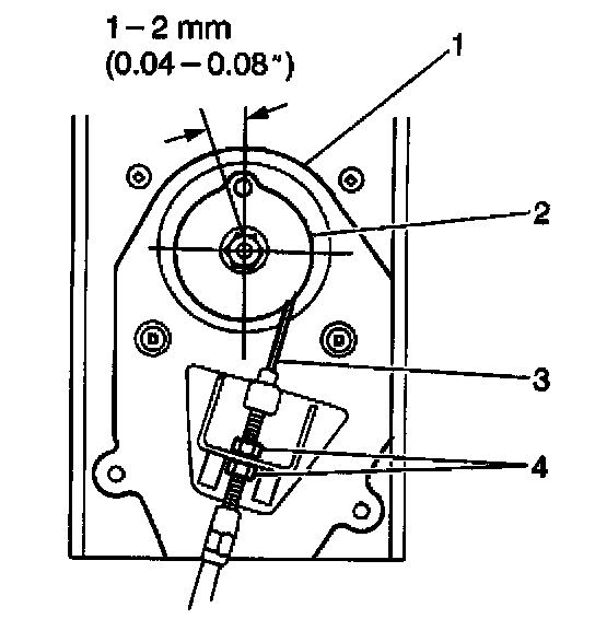
Cruise Control Servo Cable: Service and Repair

REMOVAL PROCEDURE




1. Remove the cruise control actuator assembly cover.
2. Loosen the cruise control cable locknut (4).
3. Remove the cruise control cable from the cruise control actuator lever (2).




4. Remove the cruise control cable (1) from the underhood guide clips.
5. Remove the cruise control cable (1) from the cruise control bellcrank above the accelerator pedal.
6. Unclip the cruise control cable (1) from underneath the panel in order to remove the cruise control cable from the vehicle.
7. Inspect the cruise control cable (1) for any fraying or excessive wear.
Replace the cruise control cable as needed.

INSTALLATION PROCEDURE




1. Install the cruise control cable (1) into the vehicle. Secure the cable with the guide clips.
2. Install the cruise control cable (1) to the cruise control bellcrank above the accelerator pedal.
3. Install the cruise control cable (1) into the underhood guide clips.




4. Install the cruise control cable into the cruise control actuator lever (2) and bracket.
5. Adjust the cruise control locknuts (4) in order to adjust the cruise control cable play.

NOTICE: Refer to Fastener Notice in Cautions and Notices.

6. Adjust the cruise control cable play to 1-2 mm (0.04-0.08 in) at the actuator closed throttle position.

Tighten
Tighten the cruise control cable locknuts to 5 N.m (44 lb in).

7. Install the cruise control actuator (1) assembly cover.