FREE REPAIR MANUALS & LABOR GUIDES 1982-2013 Vehicles
Courtesy of Operation CHARM: Car repair manuals for everyone.

Ride/Trim Height Specifications




Trim Height

1. Park the vehicle on level ground.
2. Inspect the tire pressure. Ensure that all tires are inflated to the proper pressure.
3. Inspect the fuel level. Verify that the fuel tank is full.
4. Ensure that there is no extra weight in the passenger compartment or the trunk. The trunk must be empty except for the spare tire and the jack.
5. Ensure that the electronic level control is operating properly.
6. Place the front seat in the rear most position.
7. Bounce the vehicle three times at the front and at the rear in order to normalize the suspension.





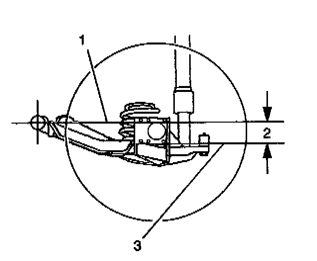
8. Measure the distance between the lowest point on the ball joint housing and the centerline of the control arm bolt. This distance (3) should be 40 mm (1.57 in) (Seville) and 30 mm (1.18 in) (Touring).





9. Measure the distance from the bottom of the control arm wheel bearing face to the centerline of the outboard control arm bolt. This distance (2) should be 86 mm (3.39 inch) (Seville) and 76 mm (2.99 in) Touring).
10. Measure the distance from the ground to the lower most portion of the front Unibody frame. This distance should be 179 mm (7.05 in) (Seville) and 169 mm (6.65 in) (Touring).
11. Measure the distance from the ground to the lower most portion of the rear Unibody frame. This distance should be 229 mm (9.02 in) (Seville) and 218 mm (8.58 in) (Touring).
12. If vehicle trim height is out of specifications, locate damaged or worn component and repair.