FREE REPAIR MANUALS & LABOR GUIDES 1982-2013 Vehicles
Courtesy of Operation CHARM: Car repair manuals for everyone.

Installation Procedure









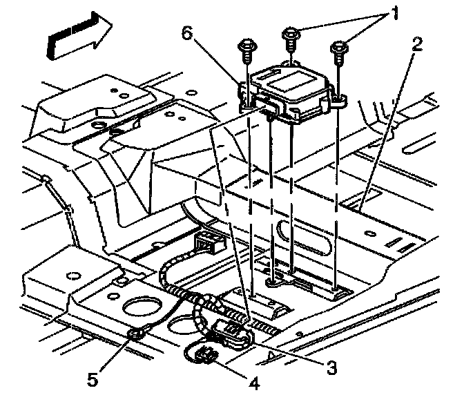
1. Install the SDM (6) to the floor sheetmetal (2).

Notice: Refer to Fastener Notice in Cautions and Notices.

2. Install the SDM mounting fasteners (1).

Tighten
Tighten fasteners to 9 N.m (80 lb in).

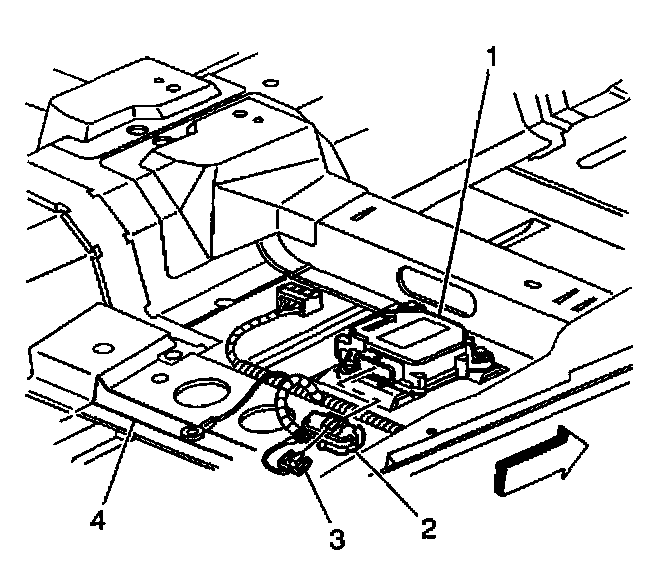
3. Install the SDM harness connector (2) to the SDM (1).
4. Install the Connector Position Assurance (CPA) (3) to the SDM harness connector (2).
5. Install the passenger carpet retainer.
6. Install the passenger seat.
7. Enable the SIR system.