FREE REPAIR MANUALS & LABOR GUIDES 1982-2013 Vehicles
Courtesy of Operation CHARM
:
Car repair manuals for everyone.
Home
>>
Cadillac
>>
1999
>>
Seville STS V8-4.6L VIN 9
>>
Repair and Diagnosis
>>
Diagrams
>>
Electrical Diagrams
>>
Powertrain Management
>>
Computers and Control Systems
>>
Body Control Module
>>
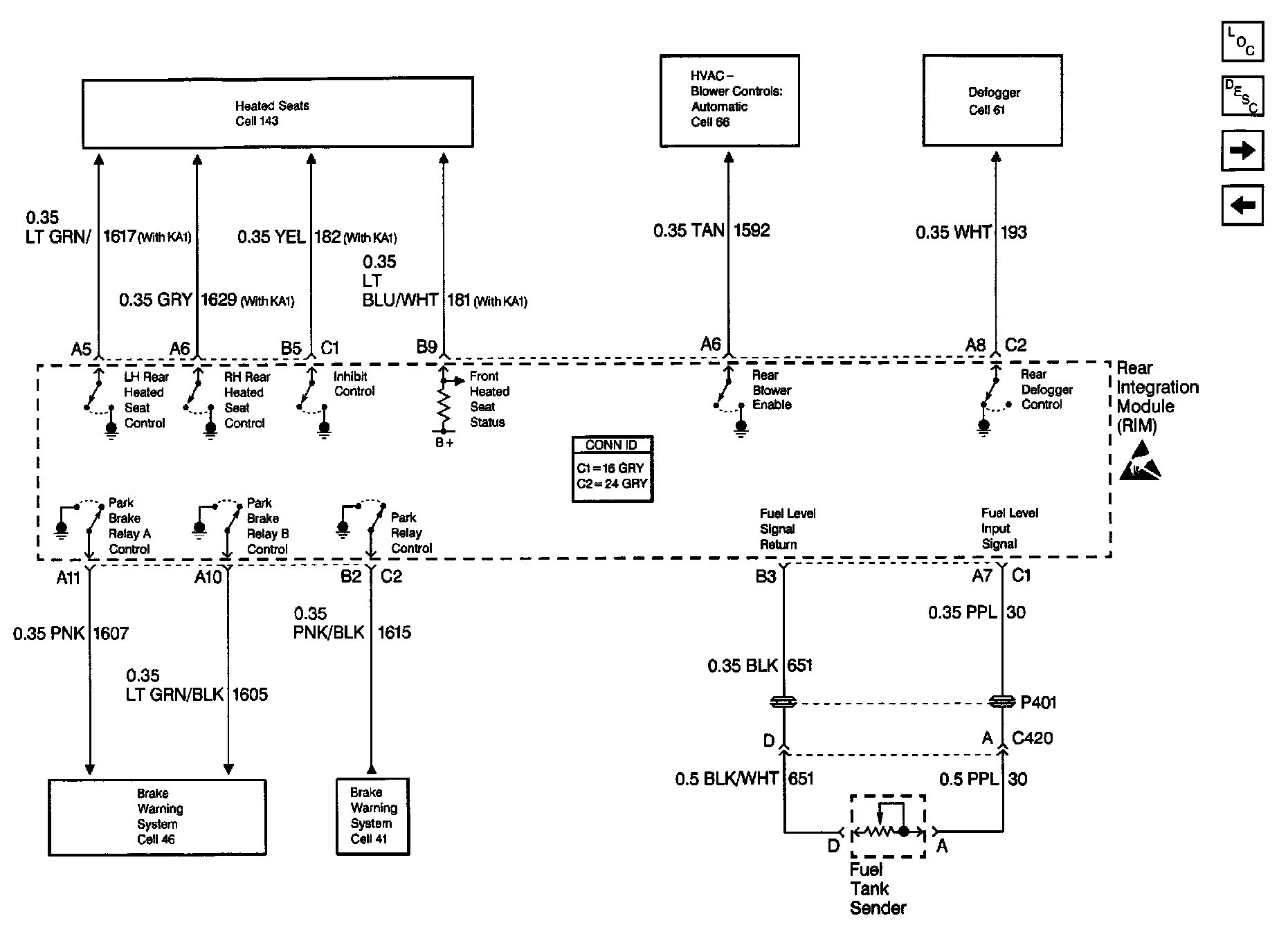
RIM Inputs and Outputs
RIM Inputs and Outputs
Body Control Module Schematics: RIM Inputs And Outputs (Part 1 Of 2):
Body Control Module Schematics: RIM Inputs And Outputs (Part 2 Of 2):